СЕПАРАЦИЯ ВОЗДУШНАЯ
(от лат. separatio-отделение), разделение твердых полидисперсных систем
на фракции по скорости осаждения частиц разной крупности (с преимуществ. размером
менее 2-3 мм, реже-до 13 мм) под действием центробежно-гравитац. сил в горизонтальном
или восходящем потоке воздуха. С. в. подчиняется общим законам осаждения
твердых тел, как и классификация гидравлическая
, однако существенно
от нее отличается. Поскольку сопротивление воздуха движению твердых частиц значительно
меньше сопротивления воды, частицы осаждаются в воздухе во много раз быстрее,
чем в воде.
С. в. осуществляется в
спец. аппаратах-пневмоклассификаторах, или воздушных сепараторах. Разделение
в последних твердых материалов основано на том, что при их вращении с несущей
средой (воздухом) или без нее более крупные частицы, обладающие большей центробежной
силой, перемещаются в радиальном направлении к периферии аппарата быстрее; чем
мелкие частицы, вытесняя их
к центру. Непосредственно разделение материала на фракции происходит под действием
центробежных сил. Гравитац. силы выводят крупную фракцию из сепарац. зоны, что
обеспечивает непрерывность процесса.
Простейшими пневмоклассификаторами
можно считать циклоны
, однако их используют чаще не для сепарации, а
для отделения частиц от несущего потока. Собственно воздушные сепараторы подразделяются
на воздушно-проходные и воздушно-циркуляционные; аппараты обоих типов работают
обычно в замкнутом, иногда в открытом циклах с мельницами сухого помола.
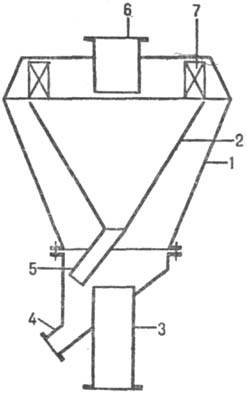
В воздушно-проходной сепаратор
(рис. 1) измельченный исходный материал поступает в потоке воздуха через патрубок
3 в кольцевое пространство между корпусом 1 и внутр. конусом 2. Вследствие увеличения
в этом пространстве проходного сечения скорость несущей среды снижается в неск.
раз. При этом наиб. крупные твердые частицы под действием силы тяжести осаждаются
из потока и через патрубок 4 возвращаются на доизмельчение. Воздушному потоку,
к-рый проходит далее через тангенциально установленные поворотные лопатки 7,
сообщается вращат. движение, и центробежными силами инерции крупные частицы
отбрасываются на стенки конуса, опускаются по ним и удаляются через патрубок
5. Воздух вместе с мелкими взвешенными частицами отсасывается вентилятором (на
рис. не показан) через патрубок 6 и подается в циклон, где частицы осаждаются,
а воздух возвращается в мельницу (при работе в замкнутом цикле) или выбрасывается
наружу. Работу сепаратора регулируют изменением скорости воздуха или положения
лопаток.

Рис. 1. Воздушно-проходной
сепаратор: 1-корпус; 2-внутр. конус; 3-патрубок для ввода исходного материала;
4, 5 - патрубки для удаления крупных частиц; 6-патрубок для удаления с воздухом
мелких частиц; 7-поворотные лопатки.

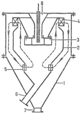
Рис. 2. Воздушно-циркуляционный
сепаратор: 1-корпус; 2-внутр. конус; 3 - распределит. диск; 4-вентилятор; 5-заслонка;
6, 7-патрубки соотв. для удаления крупных и мелких частиц; 8-воронка.
Воздушно-циркуляционный
сепаратор (рис. 2) снабжен вентилятором, создающим внутри аппарата замкнутый
поток воздуха (его циркуляция показана стрелками). Измельченный материал из
воронки поступает на вращающийся распределит. диск и отбрасывается центробежными
силами к стенкам внутр. конуса. При этом крупные частицы сползают по ним и удаляются
через патрубок 6, мелкие частицы, подхваченные воздушным потоком, осаждаются
на стенках корпуса, спускаются вдоль них и выгружаются через патрубок 7 (этот
процесс аналогичен выделению пыли в центробежных циклонах; см. также Пылеулавливание
).
Разделение материалов на фракции регулируется поворотом заслонки, в результате
чего изменяется величина потока циркулирующего воздуха. Описанный сепаратор
по сравнению с воздушно-проходным более компактен и требует меньшего расхода
энергии.
С. в. применяют при получении
тонких порошков (см. Измельчение
), при обогащении руд, в произ-вах
минер. удобрений, пластмасс и СК, пигментов и красителей, стекла, строит. материалов
и др.
Лит.: Сиденко П.
М., Измельчение в химической промышленности, 2 изд., М., 1977, с. 293, 294,
307-17; Процессы и аппараты химической промышленности, под ред. П. Г. Романкова,
Л., 1989, с. 519, 520, 526, 527.
|